Promotional tools for the MS business Mail.ru Group will take Nikita Likhachev
Promotional tools for the MS business Mail.ru Group will take Nikita Savelyev Lihacheva | 23.10.2019 Photo: vc.ru This was in...
Read morePromotional tools for the MS business Mail.ru Group will take Nikita Savelyev Lihacheva | 23.10.2019 Photo: vc.ru This was in...
Read more90% of structures vulnerable to cybergeneration Alexandrov | 30.09.2020 About 90% of government agencies are not only vulnerable to advanced...
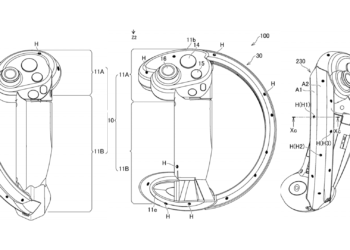
Read moreA recently discovered patent application gives us perhaps the best look at the new controllers for the yet to be...
Read moreSeveral years have passed since then, as information about Alvo came to the General public, but there's a new trailer...
Read moreBudget Cuts (2018) was originally supposed to appear on PSVR in may, but due to a global pandemic, she eventually...
Read moreVRB News is ready to cooperate with webmasters and content creators. Send an email to info@virtualrealitybrisbane.com
© 2023 - The project has been developed ServReality