
A recently discovered patent application gives us perhaps the best look at the new controllers for the yet to be announced PSVR 2.
In Japanese documentation, first discovered by Let’s Go Digital, there are detailed diagrams of devices with different angles. The design really fits a number of other patents and research papers that we have seen from Sony over the last few years.
Discovered new controllers PSVR

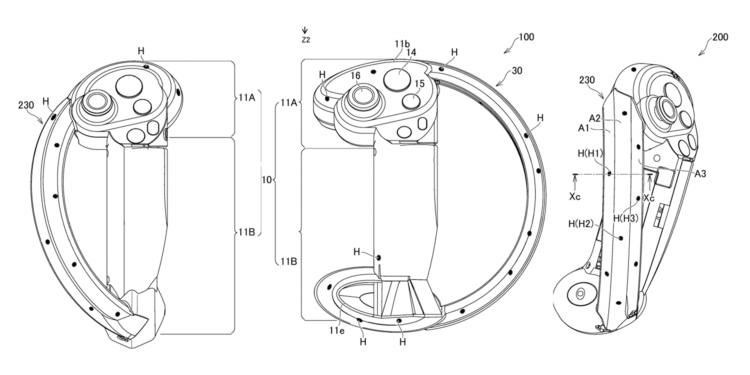
Controllers, for example, is very similar to the knuckles Index Valve, installed on the side semicircle, which probably will host the sensors for 6DOF tracking. The main handle for controllers definitely looks like she can imitate the technology of tracking fingers, a La Index. Earlier this year it published a video of Sony research, which confirmed that the company is working on such technology.
Those disappointed original Move controllers from the PSVR will be pleased to hear that these new controllers PSVR is also equipped with analog sticks. In addition, there are what looks like two front buttons and two smaller buttons, which may reflect the PS5 button “Share” and “Options”. It is interesting to note that in General the number of buttons is smaller than on the original controllers Move that raises questions about how and whether at all these controllers work with old games PS4 VR.

Another look at the design confirms that controllers are not only the triggers, but it seems that the headset PSVR can track the position of controllers. This suggests that PSVR 2 can use the tracking system inside-out, similar to the Oculus Rift’s Quest and instead of the original PSVR, which relied on the camera, facing the user.
It is necessary to note that it is possible that these patent applications will not make much difference, but they definitely match the other Sony applications that were demonstrated previously. PS5 is launched in November and will support the original PSVR, but the new version of the headset will not be released together with the console. Perhaps the information about it will appear in the next year.
Source









